This section describes the field types, formats and types of constants available in Super Natural and how to obtain extended field descriptions from the Software GmbH product Predict.
This section covers the following topics:
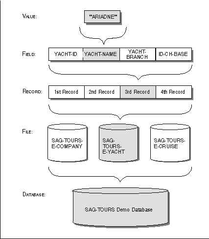
Fields are the smallest logical unit of information within a file. Fields are organized within records contained within files.
For further information on records and files, see Using a Database Structure and Files.
Super Natural identifies each field by a two-character reference which appears in the Field Reference (Ref) column on the Worksheet. Field types are indicated in the Database Reference (DB) column on the Worksheet. For further information, see Working with the Worksheet.
The following diagram shows how the name of a yacht called Ariadne is stored in a database in the demonstration file SAG-TOURS-E-YACHT:

The following sections describe the field types available in Super Natural.
The examples are taken from an imaginary file containing personnel data.
Elementary fields contain one value per record, e.g., the field AGE contains only one age per person.
The following diagram shows an elementary field:

A multiple-value field can have up to 191 occurrences per record. When using Adabas with the MUPEX function (see Adabas documentation), Super Natural supports up to 999 occurrences. For example, if a person speaks more than one language, you could use a multiple value field to store this information.
Each value within a multiple-value field is called an occurrence. You can deal with occurrences separately using referencing.
For further information on referencing, see Referencing Occurrences in Using Editors.
The following diagram shows a multiple-value field which has three occurrences:

Groups connect related fields. For example, the group NAME connects the fields; SURNAME, FIRST-NAME-1, FIRST-NAME-2, TITLE and FORM-OF-ADDRESS.
A group can contain elementary fields and multiple-value fields. Groups can be contained or nested within other groups.
You can only use groups in the Sequence (Seq) column of the Worksheet. If you mark a group with a number in the Sequence (Seq) column, all the fields belonging to the group already listed in the Field Name column are automatically numbered.
If a group contains multiple-value fields or nested groups, you can limit the number of occurrences to be displayed in reports by modifying your Transaction Options. For further information on Transaction Options, see Adjusting a User Profile.
The following diagram shows a group which contains a multiple-value field:

Periodic groups contain series of elementary and/or multiple-value fields which occurs more than once.
The values contained within a periodic group are structured like records. These records within records' are called occurrences. A periodic group can have up to 99 occurrences. When using Adabas with the MUPEX function (see Adabas documentation), Super Natural supports up to 999 occurrences.
You can limit the number of occurrences to be displayed in reports by modifying your Transaction Options. For further information on Transaction Options, see Adjusting a User Profile.
You can deal with occurrences separately using referencing. For further information on referencing, see Referencing Occurrences in Using Editors.
The following diagram shows a periodic group:

User fields are not contained in a database file. User fields are defined by the user for a particular transaction. User fields are most commonly used in calculations, logical condition processing and SQL.
For information on how to define user fields, see Field Name Column in Working with the Worksheet.
Dynamic input fields are a kind of user field which you can use to execute a transaction several times using different values. You can use dynamic input fields in the same way as any other user field. Each time you run a transaction using dynamic input fields, Super Natural asks you to supply a value for each one. This means that you do not have to modify the transaction to see what happens when a new value is used.
You can use dynamic input fields in the Selection, Calculation and Logical Conditions editors.
Note
You cannot run transactions using dynamic input fields in batch
mode.
System variables show information which comes directly from the system.
You can obtain a selection list of system variables by entering two
asterisks (**) in the Field
Name column in the Worksheet.
System variables are described in detail in section System Variables.
Input fields are fields from PC or Work files which you use with the Data Selection modes PC FILE and WORK FILE.
The field format determines which values can be assigned to a field and how long it can be. Each format is identified by a code.
The following table gives an overview of the formats available in Super Natural.
| Format | Code | Length in Characters (Bytes) |
|---|---|---|
| Alphanumeric | A | 1 - 253 |
| Binary | B | 1 - 126 |
| Date | D | No length specification |
| Floating Point | F | 4 or 8 |
| Integer | I | 1, 2 or 4 |
| Numeric | N | 1-29 |
| Packed Numeric | P | 1-29 |
| Time | T | No length specification |
The following sections describe the values which can be assigned to fields in each format.
Fields of alphanumeric (A) format can contain the following values: the letters of the alphabet, special characters, numerical digits, blanks or any combination thereof. The following are examples of alphanumeric values:
06024/71-0 #504 Ernest Schneckenbecker & Co. BEAU300864TTRN20
Binary (B) fields can only contain the following values:
| Format | Value | |
|---|---|---|
|
|
||
| B1 | 0 - 255 | |
| B2 | 0 - 65535 | |
| B3 | 0 - 16777215 | |
| B4 | -2147483648 - 2147483647 | |
| B5 - B126 | Fields of these formats can contain any binary value. | |
Fields of the formats B1, B2, B3 and B4 can also contain alphanumeric values.
The date (D) format you use in Super Natural is dependent on the Natural parameter DTFORM setting at your site. The following formats are possible where Y=year, M=month and D=day:
| DD/MM/YYYY | (European) |
| DD.MM.YYYY | (German) |
| YYYY-MM-DD | (International) |
| MM/DD/YYYY | (USA) |
Floating point (F) format is useful for representing numeric values accurately which would otherwise be too long. The values in fields with floating point format consist of a mantissa (number) and an exponent, as in the following examples:
+1.234E-10
Where 1.234 is the mantissa and -10 is the exponent. The value represented is 0.0000000001234.
-12345678E+12
Where -12345678 is the mantissa and +12 is the exponent. The value represented is -12345678000000000000.
Fields of integer (I) format can only have the following values:
| Format | Maximum Negative Value | Maximum Positive Value |
|---|---|---|
| I1 | -128 | +127 |
| I2 | -32768 | +32767 |
| I4 | -2147483648 | +2147483647 |
As integers are whole numbers, decimals are not allowed!
Fields of numeric (N) format can contain the following values: numerals, the special characters "+", "-", and the decimal character. The character which is used as the decimal character depends on the Natural settings (DC parameter) at your site. The following are examples of numeric values:
1000 -15 +0.0258
Numeric values can have a total of 29 numerals (the decimal character and + and - signs are not included in the field length). You can have a maximum of seven numerals after the decimal character.
Note
The term numeric field can refer to fields of the following
formats: B, F, I, N and P.
Packed Numeric (P) values do not take up as much space internally as numeric values. Values in packed numeric format are represented in numeric format on your screen and in reports.
Values in packed numeric format can have a total of 29 numerals (the decimal character and + and - signs are not included in the field length). You can have a maximum of seven numerals after the decimal character.
Values in time (T) format are presented as follows where H=hour, M=minute and S=second:
HH:MM:SS
Constants are values which cannot change - the opposite of variables. The following are examples of the use of constants:
Selection
NAME = 'SHAW'
Calculation
SALARY = SALARY * 1.2
Output
IF NAME = 'EMIL'
THEN USERFIELD = '*****'
ELSE
USERFIELD = '_ '
RESULT-FIELD = NAME ! ', ' ! FIRST-NAME
HOBBY = 'NOT/APPLICABLE'
SAVINGS = 0
The following table shows how to represent the types of constants
available in Super Natural:
| Constant | Representation | Values |
|---|---|---|
| Alphanumeric | 'value' | Value in format
A. An apostrophe within an alphanumeric constant is represented by double
apostrophes. Eg: 'HE SAID, ''HELLO''' |
| Date | D'value' | Value in format D as defined at your site |
| Extended Time | E'value' | Value is
composed of the date in format D as defined at your site and the time in format
T. Eg: E'1991-07-05 17:29:59' |
| Floating Point | value | Value in format F |
| Hexadecimal | H'value' | Value in format B. Value must be hexadecimal. For further information on hexadecimal values, see the Glossary. |
| Integer | value | Value in format I |
| Numeric | value | Value in format N |
| Packed | value | Value in format P |
| Time | T'value' | Value in format T |
Note
Alphanumeric, date, extended time, time and hexadecimal constants
must be enclosed within apostrophes ('......'). Constants which can only
contain numeric values must not be enclosed within apostrophes.
Descriptors enable Super Natural to search for data in the database without having to read every record. The database administrator can use both elementary and multiple-value fields to define descriptors.
The following sections describe the types of descriptors available in Super Natural.
Hyperdescriptors are user exits in Adabas and function like subdescriptors and superdescriptors in Super Natural. Ask your administrator how to use hyperdescriptors at your site.
There are two types of descriptors known as key fields in Super Natural.
Elementary key fields are elementary fields which have been defined as descriptors.
Multiple-value key fields are multiple-value fields which have been defined as descriptors.
A non-database descriptor is an elementary or multiple-value field which can be used in selection criteria in the same way as a descriptor, but is not defined as such in the database.
Note
When you use a non-database descriptor in the selection criteria,
Adabas reads every record in the database.
You can use phonetic descriptors to perform phonetic searches on fields. Phonetic searches result in the return of all values which sound similar to the phonetic descriptor you are using as a search value. Phonetic searches are useful if you are not sure how to spell what you are looking for! You can only use phonetic descriptors in the selection editor.
For further information on how to use phonetic descriptors, see Using Editors.
Subdescriptors are created from a portion of a field.
Superdescriptors are created from up to five fields (or parts thereof) which may or may not be descriptors. Superdescriptors can be of alphanumeric format or, if all the fields included are numeric, of binary format.
Super Natural provides access to extended field descriptions stored in the data dictionary Predict. (This feature is only available at sites where Predict is installed.)
You can access extended field information by entering
PI in the Information
column either of the Worksheet or of any Field Selection
List window.